聯系人:項燕
手機:13382641389
電話:0515-88691673
傳真:0515-88691678
郵箱:97543880@qq.com
地址:江蘇省鹽城市金融城2號樓705室
網址:http://m.glzhzs.com
蛇形加熱管是由雙頭出線的加熱管,以金屬管為保護外殼,沿管內中心軸均布螺旋高品質電熱合金絲(鎳鉻、鐵鉻鋁合金發熱絲),并在空隙部分緊密填充具有良好耐熱性、導熱性和絕緣性的結晶氧化鎂粉,管口兩端用硅膠密封,在經其它工藝處理而成,它可以做成U型、M型、環形等形狀。

上圖為蛇形加熱管實拍圖片,盜用必究!
值得說明:
1、電壓、功率(電壓根據接線方式以及額定電壓來決定;功率根據加熱介質以及尺 寸來決定,具體可以咨詢銷售人員)
2、管徑(一般是8mm、10mm、12mm、14mm、16mm、18mm、20mm等)
3、形狀尺寸(提供圖紙或者樣品)
4、是否含有緊固件,如含有緊固件,緊固件大小以及螺紋長度
5、彎管R弧度,請參考下面表格數據
6、外觀材質選擇:主要材質有10#碳鋼、SUS304、SUS321、SUS316L、不銹鋼加涂層 (防水垢處理)、SUS310S(俗稱:2520)、鈦管等。
7、電熱絲材質選擇:一般為鐵鉻鋁絲(北京首鋼)、鎳鉻絲(一般有H140、2080電 阻絲等)。這2者的選擇取決于客戶的工作環境(溫度以及震動性)。
歡迎直接來電咨詢: 13382641389 (手機 /微信) 項經理
【管狀電加熱管概況】
工業管狀加熱管適用于大多數需要電加熱的場合。它們可以用直的形式或彎曲成各種形狀,根據要求非標定制,因此工業用電加熱管一般均無現貨。
工業管狀電熱管常用于以下應用中:
空氣加熱 | 浸入式液體加熱 | 管道加熱 | 對流加熱 | 烘干設備
【雙頭電加熱管結構】

1. 陶瓷絕緣子 2.密封材料 3.引線棒 4.氧化鎂粉 5.電阻絲 6.金屬護套
【雙頭電加熱管設計,需要考慮因素】
影響加熱管耐久性的兩個最關鍵因素是:
1. 金屬護套管的選擇
2. 表面負荷的選擇(說簡單點,就是每米功率的選擇)
電加熱管的外殼材料類型取決于加熱管工作的溫度和加熱介質的腐蝕性。電熱管表面負荷之所以重要,有兩個原因:
首先,它決定了加熱管外殼材料在加熱條件下的所要承受的溫度。
第二,每一種材料都有一個特定的上限表面負荷,使它可以在加熱周期內能承受的住。
表1:列出各種管外殼材料,以及其允許溫度和推薦使用的介質。

表2:列出不同材料的推薦表面負荷和介質

【雙頭電加熱管一般固定方式-緊固件固定】


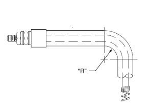
【電加熱管彎管成異形的時候,需要注意以下】
通過縮管機縮管后的直徑,對電熱管的絕緣氧化鎂粉進行了壓縮。然后在高溫爐中對這些加熱管進行退火,以減輕在軋制過程中發生的金屬應力(工作硬化),使其減小護套的尺寸。退火使金屬回到軟態,使加熱管幾乎可以彎曲成任何形狀。然而,由于成形也會使金屬變硬,因此必須采取一些預防措施,以防止在彎曲或出現應力開裂痕跡時護套斷裂。
電加熱管在彎管的時候,其中需要注意一個R弧度的限制,R弧度太小,加熱管易彎斷,報廢率高,正常彎管成各種異形的情況下,沒有特殊要求應該符合下面表格中的最小R弧度


形狀各異,客戶可以直接提供異形形狀尺寸或者圖紙咨詢。
【電加熱管使用注意點】
1、電加熱管允許在下列條件下工作:
(1)空氣相對濕度不大于95%;
(2)工作電壓不大于額定值的1.1倍,外殼應有效接地。
2、加熱介質為液體時,電熱管的有效長度必須全部浸在液體中。電加熱管發熱部份應與容器壁有一定距離,一般為50-60mm以上。
3、加熱液體的電加熱管不得用于加熱氣體或固體物。
4、加熱液體的元件,如發現管子表面有水垢或結炭時,應清除干凈后再用,以免影響加熱管的使用壽命和降低熱效率。
5、熔煉輕金屬或硝鹽、堿、瀝青、石蠟等為固態時進行加熱,應降壓啟動,待固態加熱介質全部熔化后才能升至額定電壓。
6、加熱硝鹽時應考慮安全措施,預防爆炸事故發生。
7、電熱管接線部份應放在保溫層、加熱室外,并避免與腐蝕性、爆炸性氣體接觸。必須保持出線端部干燥、清潔,以免造成閃絡或短路。接線時勿用力過猛。
8、加熱管的端部可能溢出少量糊狀物,這是封口材料,不影響使用,待斷電后,將溢出物揩干凈即可。
9、電熱管應儲存在空氣流通、相對濕度不大于85%、無腐蝕性氣體的室內。
10、加熱管使用一段時間后又長期不用而受潮后,其冷態絕緣電阻低于1兆 歐時,可將元件放在溫度200度左右的干燥箱中烘焙,或降低電壓直接通電加熱,除去潮氣,至恢復正常為止。
【快速聯系我們咨詢產品】
認準鹽城飛宇合金電器有限公司其他官方 網站: